
tir 发表于 2020-5-31 21:20
不好意思,最新节点出来,就又凉 哈哈



laogui 发表于 2020-5-31 21:22
网上公开的,大多都被搞残了

citywar 发表于 2020-5-31 21:30
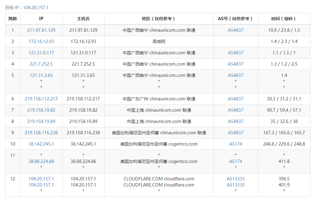
运营商阻断
之前我也用移动走香港的节点 最近完全不行了



jdunion 发表于 2020-5-31 21:34
换一个也一样,解决不了问题,最简单的办法是放弃

带手铐的旅客 发表于 2020-5-31 21:38
CF这么大的公司,居然

micms 发表于 2020-5-31 21:45
付费节点应该可以 就是无敌贵 不是拆迁户用不起

jdunion 发表于 2020-5-31 21:46
变相收割草根,现在也没多少人谈论oracle云了吧
micms 发表于 2020-5-31 21:49
甲骨文?怎么了嘛
嗷嗷 发表于 2020-5-31 21:48
我信你个鬼走日本
嗷嗷 发表于 2020-5-31 21:48
我信你个鬼走日本
| 欢迎光临 全球主机交流论坛 (https://loc.528866.xyz/) | Powered by Discuz! X3.4 |